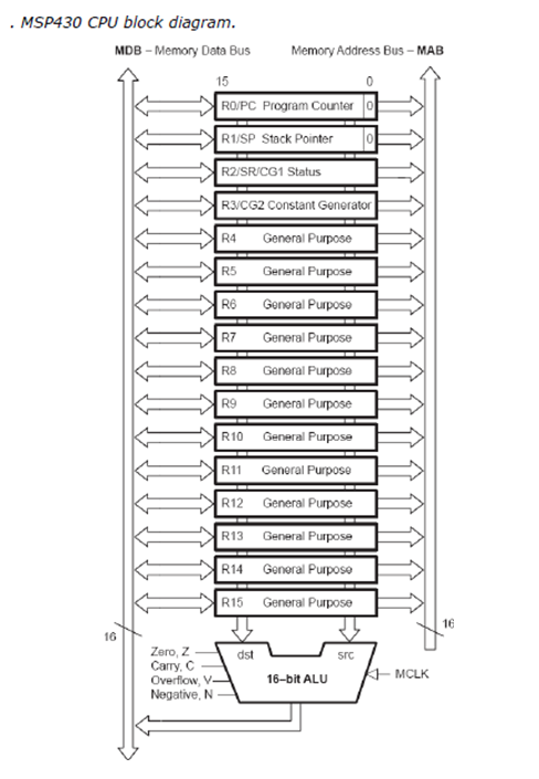
The RISC type architecture of the CPU is based on a short instruction set (27 instructions), interconnected by a 3-stage instruction pipeline for instruction decoding. The CPU has a 16-bit ALU, four dedicated registers and twelve working registers, which makes the MSP430 a high performance microcontroller suitable for low power applications. The addition of twelve working general purpose registers saves CPU cycles by allowing the storage of frequently used values and variables instead of using RAM. The orthogonal instruction set allows the use of any addressing mode for any instruction, which makes programming clear and consistent, with few exceptions, increasing the compiler efficiency for high-level languages such as C.
